ELASTIC VIBRATION PROTECTION SYSTEMS WITH ADAPTIVE ELEMENTS OF QUASI-ZERO STIFFNESS
Brief description of performed works
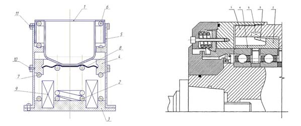
One of the directions of research is the reduction of rotor systems on rolling and sliding bearings vibration activity due to the use of elastic supports with controlled quasi-zero stiffness based on piezoceramic elements.
Variants of the elastic supports with quasi-zero stiffness controlled by piezoceramic elements design schemes have been developed. The main components of the mathematical models of the developed systems for the theoretical foundations of solving the problem of effective rotor systems vibration protection, taking into account the reactions and responses of piezoceramic elements, are substantiated.
The second direction of research is the development of suspension systems for the operator’s work chair with adaptive elements of quasi-zero stiffness.
A suspension system of the operator’s chair with controlled quasi-zero stiffness due to the use of a double adaptive spring has been developed.
An important advantage of the developed systems is a fairly low energy dependence (the possibility of designing a system that does not require external energy consumption due to the use of control piezoceramic elements as energy sources).
PUBLICATIONS
1. Klitnoi V, Gaydamaka A. On the problem of vibration protection of rotor systems with elastic adaptive elements of quasi-zero stiffness. Diagnostyka, 2020; 69-75. https://doi.org/10.29354/diag/122533.



